NMAA News – Melalui unggahan foto di jagad media sosial, merek kendaraan asal Korea Selatan, Hyundai ternyata punya suguhan fitur baru. Jika melihat sekilas, mode baru tersebut mirip seperti fitur Crabwalking di unit Hummer GMC.
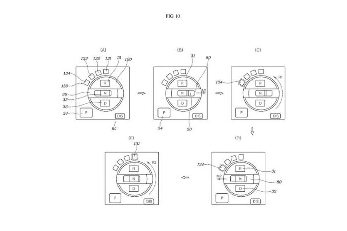
Menunjukan tombol gear selector tidak hanya dihadirkan dalam mode P, D, dan R. Akan tetapi, ada tombol lain di atasnya. Mode kemudi Crabwalk membuat pengendalian mobil semakin dinamis untuk bergerak miring dan menegaskan radius putar mobil tersebut.
Kabarnya, fitur ini mulai dipatenkan berupa penambahan motor listrik di bagian roda. Akan tetapi, Hyundai punya sebutan khusus untuk fitur ini, bernama “in-wheel system vehicle”.

Nantinya, tombol shift dan dial untuk mengontrol kemudi dapat terhubung dalam satu komponen. Kendati demikian, jumlah komponen dikurangi dan berdampak terhadap daya jual mobil mereka. Fitur ini dapat memberikan informasi kendaraan kepada pengemudi melalui pengoperasian dial terutama ketika kontrol kemudi tidak dilakukan.

Dalam berkas paten disebutkan, sistem ini tidak harus menggunakan dial seperti pada gambar. Lantaran, terdapat slider atau gear selector standar. Selain itu, peranti pendukung lain akan dihadirkan berupa sistem elektrikal. Untuk memberikan kenyamanan tombol mode ekstra itu juga dapat ditutup saat tidak digunakan.

